|
[摘要]自动驾驶汽车的驾驶盘等操作装置可以被收缩放置进一个汽车内前方的封闭空间里并被安全锁定,从而将其隐藏掉,为汽车内部提供更加广阔充足的空间。
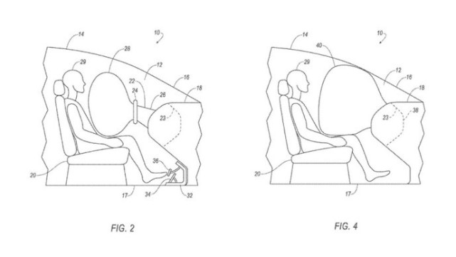
腾讯数码讯(chares)自动驾驶汽车发展速度迅猛,越来越多趋势表明或许在不久的将来,汽车方向盘的消失终于将成为可能,最近福特汽车公司的一项无人驾驶系统的新专利就给我们提供了足够多的信心。 在这套系统中,自动驾驶汽车的驾驶盘等操作装置可以被收缩放置进一个汽车内前方的封闭空间里并被安全锁定,从而将其隐藏掉,为汽车内部提供更加广阔充足的空间。为了驾驶员的安全,福特还准备了两个前置安全气囊,一个在驾驶盘上,一个放置在仪表盘上,一系列的传感设备将可以准确监测到车轮是否精准就位,并在意外事故中为乘客提供最大化的安全保障。
根据福特介绍,这种可拆卸驾驶盘还可以通过花键轴或者线控技术与路面建立物理连接,踏板也是一样,福特希望能够利用紧固件和弹簧卡接合器来安装可拆卸加速器和刹车踏板,通过这样让所有的操作实现电动化,而通过软件编程也让自动驾驶汽车的电动执行器模拟刹车踏板,有效的实现其阻力功能和恢复性能。 |

手机版










