|
本文来自中关村在线 据外媒报道,苹果刚刚获得掉了新专利——为Siri智能音箱Homepod和苹果即将推出的iPhone 8打造一款内置无线充电器的便携式充电底座/智能坞Dock。有了这款智能Dock,当把iPhone、iPad相连接之后使用,就会自动调用设备上的Siri功能,你还可以用语音指令与其对话。
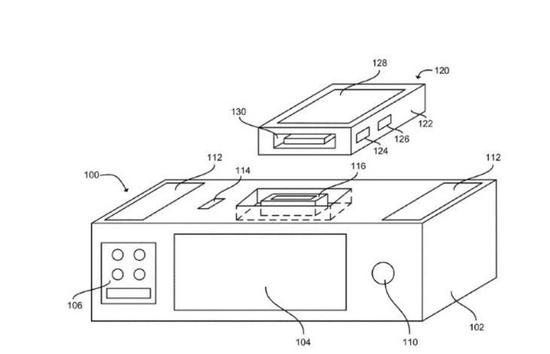
苹果新专利:激活Siri无线充电的智能DocK(图源:Theverge) 据悉,该专利(智能Dock)是一种“便携式电子设备语音识别模式”的“智能坞”,它不仅具备充电底座的功能,同时还可以识别放入其中的iPhone,并激活麦克风,然后可以监听语音命令,允许用户控制房间里的电话。也就是说,苹果的这款新专利“智能坞”相当于Siri的一个终端。
苹果新专利:激活Siri无线充电的智能DocK(图源:CNET) 该专利(智能Dock)还涵盖了包括无线充电在内的多种充电方式,还包含钟表和收音机等基本功能;并描述了只使用麦克风和扬声器简单连接器的终端,以及带有按钮和显示器的成熟微型计算机。 据了解,苹果这款新专利智能Dock(siri infused)可以实现很多功能,类似于亚马逊Echo Doc作为一个小的终端给用户更便宜的选择。 其实早在2012年 ,苹果就提交了该项专利,但似乎这么多年来一直致力于开发和提炼,也有可能是被抛弃了现在又找回了,所以尽管还没有实物,我们还是要期待的。 目前,该产品还暂时是个专利,并未有实际产品。尽管如此,大家依然觉得售价349美元的苹果homepod想要抗衡180美元的Echo来说比较困难,更不用说亚马逊50美元的Echo Doc。所以,此次可实现Siri语音功能的小终端或许会是一个更小、更便宜的选择。 |

手机版













